日前,小眼睛科技开展了基于紫光同创Logos系列PGL50H的盘古50K开发板免费试用活动。近期,小编将陆续为大家推出系列体验报告。本期推出:紫光同创PGL50H DDR读写测试
01软硬件平台
02IP介绍
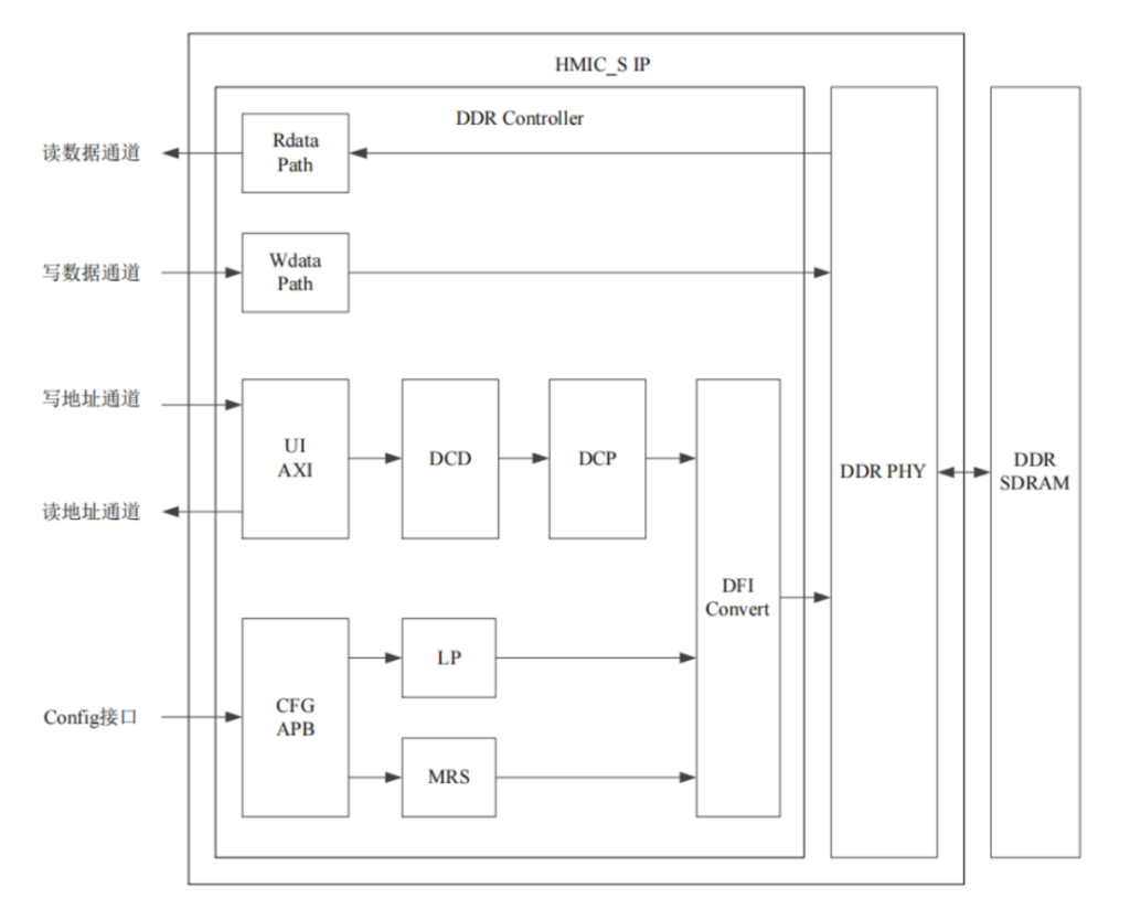
03IP接口

如图所示,整个IP包括Simplified AXI4 接口、Config接口,还有物理接口。物理接口是连接片外DDR3的接口;Config接口为APB配置接口,通过该接口,用户可读取 DDR SDRAM 的状态,实现低功耗和MRS的控制;Simplified AXI4 接口包括写地址通道、读地址通道、写数据通道和读数据通道四个部分。具体可参考紫光IP Compiler下的DDR使用手册。
04IP核参数配置

由于开发板外接了两块16bit数据位宽的DDR3,所以总数据位宽需要选择32;


由于开发板的DDR3的控制/地址信号与默认项不一致,所以需要根据实际开发板的接口来自定义相关配置,最简单的方法复制一份有DDR3的开发板例程中fdc,勾选Enable fdc file select,导入fdc文件,DDR3的相关配置便会自动更改,而不需要手动一个一个更改。
05测试读写逻辑
自增计数对DDR所有地址写一遍,写完后对所有地址读一遍,读出来的数据与写进去的数据做一个比较,比较错误则产生一个错误标志error_flag,error_flag接到LED1。






06测试结果

如图所示,LED1为ddr3_init_done 的心跳灯,会以1s切换一次状态;LED2为error_flag指示灯,DDR3读写正确error_flag保持熄灭状态;LED3为写完成指示灯;LED4为读完成指示灯。

如图所示,为写DDR的时序图,当awvalid 和awready信号同时置1时,写地址发生传输。当wready信号置1时,数据发生传输,wusero_last信号为写数据最后一个标志。

如图所示,为读DDR的时序图,当arvalid和arready信号置1时,读地址发生传输。当rvalid信号置1时,代表读数据有效,rlast信号为读数据最后一个标志。

注意,IP的用户接口交互时钟是IP内部产生的100MHz,且不能配置更改。Debugger中waveform的刻度与信号是不对齐的,且有时候不容易看出信号有效周期是多少,在调试时可以在Debugger中的设置里的waveform里选择Pulse Width,且在Hardware Parameter里设置对应的采样时钟频率,这样可以帮助我们更容易分析单bit信号的正确性。


没有回复内容